+7 423 200 60 77
WhatsApp
Telegram
Заказать звонок
Авто из Японии
Цены на авто из Японии
Аукционы Японии
Аукционы Японии (PRO)
Статистика продаж аукционов (PRO)
Авто из Кореи
Авто из Китая
Услуги
Авто из Японии
Авто из Кореи
Автомобили из Китая
Распилы и конструкторы
Спецтехника и грузовики
Компания
Блог
Контакты
+7 423 200 60 77
WhatsApp
Telegram
WhatsApp
Telegram
Авто из Японии
Авто из Кореи
Авто из Китая
Услуги
Авто из Японии
Авто из Кореи
Автомобили из Китая
Распилы и конструкторы
Спецтехника и грузовики
Компания
Блог
Контакты
+7 423 200 60 77
Заказать звонок
Рассчитать стоимость
Главная
Аукционы
DAIHATSU
HIJET TRUCK
8SyRdBtYm2jPkzx
DAIHATSU HIJET TRUCK
Характеристики
Год
2021
Кузов
Пробег
42000
Комплектация
シ
Комплектация заполнятся сотрудником аукциона произвольно. Найти характеристики авто можно в
каталоге комплектаций
по названию ниже.
Объем
660
Привод
КПП
Мощность
46,53
Мощность не была заполонена сотрудником аукциона и взята из каталога.
Цвет
green
Аукцион
Оценка
4
Номер лота
24571
Аукцион
AUCNET
Дата аукциона
2025-08-18
Цена продажи в Японии
1 133 000 ¥
1 152 914
Р
средняя цена
Оставить заявку
Задать вопрос
доставка 4 недели
предоплата от 50 000 Р
10-летний опыт
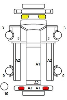
Аукционный лист
Обозначения на схеме
A1
Маленькая царапина
A2
Царапина
A3
Большая царапина
B1
Маленькая вмятина с царапиной
E1
Небольшая вмятина
E2
Несколько небольших вмятин
E3
Много небольших вмятин
U1
Маленькая вмятина
U2
Вмятина
U3
Большая вмятина
W1
Ремонт/Покраска
W2
Ремонт/Покраска (заметные)
W3
Ремонт/Покраска (очень заметные, должно быть перекрашено)
S1
Малозаметная ржавчина
S2
Ржавчина
C1
Коррозия
C2
Заметная коррозия
P
Краска отличается от оригинала
H
Краска ухудшилась
X
Элемент требует замены
XX
Замененный элемент
Видеообзоры
Подробный расчет
Физическое лицо
Расходы в Японии
Средняя аукционная стоимость
1 133 000 ¥
566500 рублей
по курсу ЦБ РФ на
Wed.03.2026
Расходы по Японии
90 000 ¥
Фрахт до Владивостока
50 000 ¥
Расходы в России
Таможенная пошлина и Утилизационный сбор
100 646 ₽
Услуга брокера, СВХ, СБКТС, ЭПТС
70 000 ₽
Комиссия компании
50 000 ₽
Итоговая средняя стоимость в Владивостоке
1 152 914 ₽
стоимость фрахта и расходов по Японии варьируется, расчет приблизительный, конечную стоимость уточнять у менеджера
Наши соцсети
Обзоры автомобилей и разборы нововведений - вся актуальная информация на нашем сайте. Будьте в курсе новостей и событий автопрома!
Telegram
@acjcar
Instagram
@auction.car
YouTube
@Auction-Car
Dzen
@АукционКар
ВКонтакте
@auctioncar
Как вам наш сайт?
Лучшие авто на рынке — без посредников!
Подпишитесь на Telegram и получайте эксклюзивные предложения!
Подписаться
<div class="modal_form_container"> <div class="head">Заказать звонок</div> <form action="" onsubmit="ym('61205368','reachGoal','request_call',{pageType:''})"> <input type="hidden" name="ip_user" value="216.73.216.14"> <input type="hidden" name="form_name" value="Заказать звонок"> <input type="hidden" name="page_url" value="/" id="page_url"> <script>document.getElementById('page_url').value=window.location.pathname;</script> <div class="inputs_row"> <div class="input_c"> <label for="">Номер телефона*</label> <input type="text" id="user_phone" name="user_phone" class="required" placeholder="+7 999 999-99-99" required="" minlength="7" maxlength="18"> </div> <!-- <div class="input_c"> <label for="">Ваш вопрос</label> <input type="text" id="user_text" name="user_text" class="required" placeholder="" required=""> </div> --> <!-- <div class="input_c"> <label for="">Как связаться</label> <select type="hidden" name="contact_way" class="js-choice"> <option value="telephone">Перезвонить</option> <option value="whatsapp">Написать в WhatsApp</option> <option value="telegram">Написать в Telegram</option> </select> </div> --> <div id="captcha"></div> </div> <div class="submit_box"> <button class="primary-btn" type="submit">Отправить</button> </div> <div class="user_agreement ">Нажимая кнопку "Отправить" Вы подтвеждаете своё <a href="/info/agreement/" target="_blank">согласие на обработку персональных данных</a></div> </form> </div> <div class="modal_form_container success_result" style="display:none;"> <div class="head">Ваш запрос успешно отправлен</div> <p>Менеджер свяжется с Вами в ближайшее время! <br> Режим работы офиса: с 10:00 до 19:00 понедельник, пятница по Владивостоку, с 10:00 - 14:00 в субботу</p> <button class="primary-btn" onclick="$(this).parents('.modal').fadeOut('100');">Закрыть</button> </div> <div class="modal_form_container error_result" style="display:none;"> <div class="head">Ошибка отправки</div> <button class="primary-btn" onclick="return_to_form()">К форме</button> </div> <script type="text/javascript"> function user_phone_mask(){ let inputsTel = document.querySelectorAll('form input[name="user_phone"]'); inputsTel.forEach(function(el,i){ Inputmask({"mask": "+7(999) 999-9999",greedy: false,}).mask(el); }) } user_phone_mask(); function customSelect(){ let select = document.querySelector('.modal_form_container .js-choice') let choicesForm = new Choices(select, { searchEnabled: false, itemSelectText: '', }); } customSelect() </script> <script src="https://www.google.com/recaptcha/api.js?onload=onloadCallback&render=explicit" async defer> </script>
<div class="modal_form_container"> <div class="head">Оставить заявку</div> <form action="" onsubmit="ym(61205368,'reachGoal','send_requestform_stat')"> <input type="hidden" name="ip_user" value="216.73.216.14"> <input type="hidden" name="form_name" value="Оставить заявку на похожий"> <input type="hidden" name="page_url" value="/" id="page_url"> <input type="hidden" name="similar_element_link" value="//"> <input type="hidden" name='page_type' value=""> <script>document.getElementById('page_url').value=window.location.pathname;</script> <div class="inputs_row"> <div class="input_c textarea_box"> <textarea type="text" id="user_moto" name="user_moto" class="required auto" required="" placeholder=" г. см3 ¥ .Оценка " disabled value=" г. см3 ¥ .Оценка "></textarea> </div> <div class="input_c"> <label for="">Номер телефона*</label> <input type="text" id="user_phone" name="user_phone" class="required" placeholder="+7 999 999-99-99" required="" minlength="7" maxlength="18"> </div> <div class="input_c"> <label for="">Город доставки*</label> <input type="text" id="user_location" name="user_location" class="required" placeholder="Владивосток" required=""> </div> <!-- <div class="input_c"> <label for="">Как связаться</label> <select type="hidden" name="contact_way" class="js-choice"> <option value="telephone">Перезвонить</option> <option value="whatsapp">Написать в WhatsApp</option> <option value="telegram">Написать в Telegram</option> </select> </div> --> <div id="captcha"></div> </div> <div class="submit_box"> <button class="primary-btn" type="submit"> Отправить </button> </div> <div class="user_agreement ">Нажимая кнопку "Отправить" Вы подтвеждаете своё <a href="/info/agreement/" target="_blank">согласие на обработку персональных данных</a></div> </form> </div> <div class="modal_form_container success_result" style="display:none;"> <div class="head">Ваш запрос успешно отправлен</div> <p>Менеджер свяжется с Вами в ближайшее время! <br> Режим работы офиса: с 10:00 до 19:00 понедельник, пятница по Владивостоку, с 10:00 - 14:00 в субботу</p> <button class="primary-btn" onclick="$(this).parents('.modal').fadeOut('100');">Закрыть</button> </div> <div class="modal_form_container error_result" style="display:none;"> <div class="head">Ошибка отправки</div> <button class="primary-btn" onclick="return_to_form()">К форме</button> </div> <script type="text/javascript"> function user_phone_mask(){ let inputsTel = document.querySelectorAll('form input[name="user_phone"]'); inputsTel.forEach(function(el,i){ Inputmask({"mask": "+7(999) 999-9999",greedy: false,}).mask(el); }) } user_phone_mask(); function customSelect(){ let select = document.querySelector('.modal_form_container .js-choice') let choicesForm = new Choices(select, { searchEnabled: false, itemSelectText: '', }); } customSelect() </script> <script src="https://www.google.com/recaptcha/api.js?onload=onloadCallback&render=explicit" async defer></script>